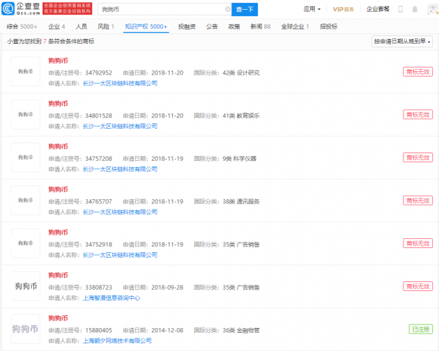
科技号企查查APP显示,“狗狗币”商标已被申请注册,国际分类涉及金融物管、广告销售等,申请人包括上海朝夕网络技术有限公司、长沙一太区块链科技有限公司等。企查查信息显示,目前,“狗狗币”相关商标状态为“商标无效”、“已注册”等。公开资料显示,狗狗币为一种虚拟货币,其币面符号是一只Doge,起初只是作为比特币的改进示范而创立的电子货币,但发布之后很快在电子货币社区中流行。近日,据新浪科技报道,亚马逊正考虑接受狗狗币作为支付方式。

科技号企查查APP显示,“狗狗币”商标已被申请注册,国际分类涉及金融物管、广告销售等,申请人包括上海朝夕网络技术有限公司、长沙一太区块链科技有限公司等。企查查信息显示,目前,“狗狗币”相关商标状态为“商标无效”、“已注册”等。公开资料显示,狗狗币为一种虚拟货币,其币面符号是一只Doge,起初只是作为比特币的改进示范而创立的电子货币,但发布之后很快在电子货币社区中流行。近日,据新浪科技报道,亚马逊正考虑接受狗狗币作为支付方式。
