华为申请注册小艺商标 企查查显示该商标多品类已被注册

科技号对于华为手机和华为IoT用户来说,华为的语音助手小艺小艺,一定不会陌生。华为最早于2018年推出了名为“小艺“的语音助手,并沿用至今。

据企查查显示,华为技术有限公司于4月20日申请注册小艺商标,国际分类包含41类 教育娱乐、38类 通讯服务等,目前商标状态为注册申请中。

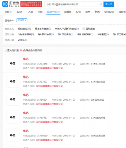
然而,通过企查查查询可以看出,小艺商标目前已被深圳盈嘉健康科技有限公司成功注册,注册日期为2019年,类别包括化学原料、颜料油漆、日化用品、医药、手工器械等多个分类。

华为对小艺的商标申请能否获批,目前尚未可知。

华为申请注册小艺商标 企查查显示该商标多品类已被注册

给TA打赏
共{{data.count}}人
人已打赏
互联网

市场监管总局:依法对美团涉嫌垄断行为立案调查

2021-4-26 16:39:22

互联网

闪送回应企查查其法定代表人被限制高消费:法院已取消限令

2021-4-26 16:54:00

0 条回复 A文章作者 M管理员
    暂无讨论,说说你的看法吧
个人中心
购物车
优惠劵
今日签到
有新私信 私信列表
搜索