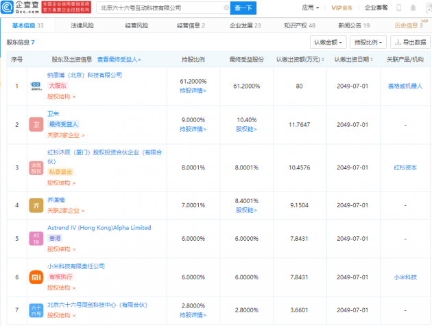
企查查APP显示,5月8日,北京六十六号互动科技有限公司发生工商变更,新增股东小米科技有限责任公司,持股6%。同时,公司注册资本由100万元人民币增加至130.72万元人民币。
企查查信息显示,六十六号互动科技是九号公司孵化的教育机器人公司,主要从事编程类教育服务机器人研发、生产、销售,旗下APP为积木电顽。企查查显示,该公司成立于2019年,法定代表人为卫来,经营范围包含:软件开发;基础软件服务;计算机系统服务;数据处理等。



企查查APP显示,5月8日,北京六十六号互动科技有限公司发生工商变更,新增股东小米科技有限责任公司,持股6%。同时,公司注册资本由100万元人民币增加至130.72万元人民币。
企查查信息显示,六十六号互动科技是九号公司孵化的教育机器人公司,主要从事编程类教育服务机器人研发、生产、销售,旗下APP为积木电顽。企查查显示,该公司成立于2019年,法定代表人为卫来,经营范围包含:软件开发;基础软件服务;计算机系统服务;数据处理等。


