腾讯音乐科技经营异常 为TME旗下公司

【TechWeb】企查查App显示,近日腾讯音乐娱乐科技(深圳)有限公司因通过登记的住所或经营场所无法联系,被深圳市市

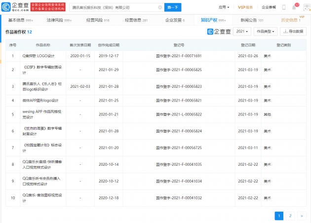
科技号企查查App显示,近日腾讯音乐娱乐科技(深圳)有限公司因通过登记的住所或经营场所无法联系,被深圳市市场和质量监督管理委员会南山局列入经营异常名单。企查查股权穿透显示,该公司为TME香港公司全资子公司,旗下拥有《幻梦》数字专辑封面设计、QQ音乐-音效图标视觉设计等作品著作权等。

腾讯音乐科技经营异常 为TME旗下公司

腾讯音乐科技经营异常 为TME旗下公司

腾讯音乐科技经营异常 为TME旗下公司

腾讯音乐科技经营异常 为TME旗下公司

给TA打赏
共{{data.count}}人
人已打赏
互联网

台积电 4 月营收 1113.2 亿新台币,同比增长 16%

2021-5-10 14:49:55

互联网

Flurry:全球88%的苹果iOS14.5用户禁用App追踪功能

2021-5-10 14:56:38

0 条回复 A文章作者 M管理员
    暂无讨论,说说你的看法吧
个人中心
购物车
优惠劵
今日签到
有新私信 私信列表
搜索