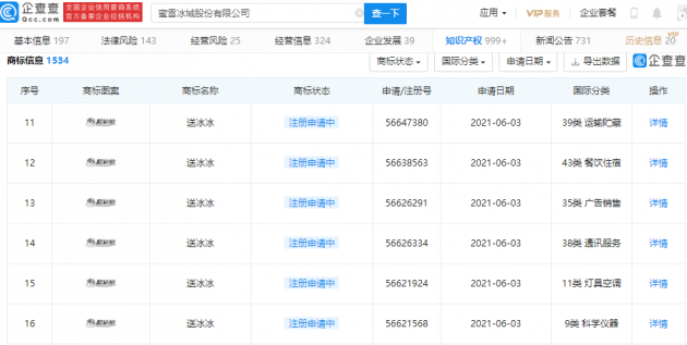
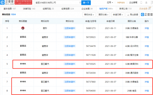
蜜雪冰城申请“送冰冰”、“雪王霸汽”商标

【TechWeb】企查查APP显示,近日,蜜雪冰城股份有限公司新增多项商标申请信息,商标包含“送冰冰”、“雪王

科技号企查查APP显示,近日,蜜雪冰城股份有限公司新增多项商标申请信息,商标包含“送冰冰”、“雪王霸汽”,国际分类涉及啤酒饮料、餐饮住宿、运输仓储等,商标状态均为“注册申请中”。

蜜雪冰城申请“送冰冰”、“雪王霸汽”商标

蜜雪冰城申请“送冰冰”、“雪王霸汽”商标

给TA打赏
共{{data.count}}人
人已打赏
互联网

Aruba ESP升级Aruba Central 推出全新边缘交换机

2021-6-23 17:18:31

互联网

库克致电多位议员:反垄断立法过于仓促将扼杀创新

2021-6-23 17:26:39

0 条回复 A文章作者 M管理员
    暂无讨论,说说你的看法吧
个人中心
购物车
优惠劵
今日签到
有新私信 私信列表
搜索