字节跳动申请“狗头”、“狗头大作战”相关商标

【TechWeb】4月19日消息,企查查APP显示,近日,北京字节跳动网络技术有限公司新增“狗头”、“狗头大作战&rd

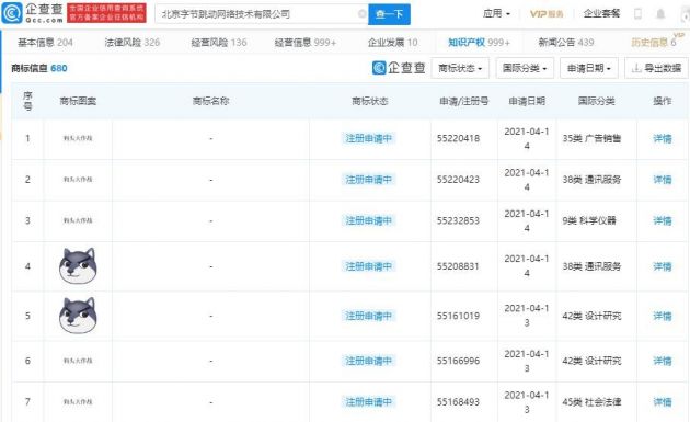
科技号4月19日消息,企查查APP显示,近日,北京字节跳动网络技术有限公司新增“狗头”、“狗头大作战”相关商标申请信息,国际分类涉及设计研究、广告销售、科学仪器、通讯服务等。目前商标状态均为“注册申请中”。值得一提的是,企查查信息显示,腾讯、新浪微博关联公司于2021年2月已陆续申请“狗头”相关商标,商标状态为“注册申请中”。

字节跳动申请“狗头”、“狗头大作战”相关商标

字节跳动申请“狗头”、“狗头大作战”相关商标

字节跳动申请“狗头”、“狗头大作战”相关商标

字节跳动申请“狗头”、“狗头大作战”相关商标

字节跳动申请“狗头”、“狗头大作战”相关商标

给TA打赏
共{{data.count}}人
人已打赏
互联网

美团发布新一代自研无人配送车 将在外卖等多场景规模化落地

2021-4-19 13:56:53

互联网

名创优品关联企业成被执行人,执行标的约28.5万元

2021-4-19 14:24:14

0 条回复 A文章作者 M管理员
    暂无讨论,说说你的看法吧
个人中心
购物车
优惠劵
今日签到
有新私信 私信列表
搜索