科技号飞鱼科技(01022.HK)发布公告,公司拟以每股0.6941港元向THL H Limited发行1.7亿股,相当于扩大股本10%。所得款项净额1.19亿元。公告称,认购方为腾讯控股(00700.HK)的全资附属公司。
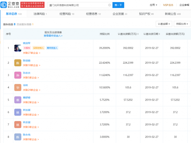
企查查APP显示,飞鱼科技国内经营实体为厦门光环信息科技有限公司,是一家从事游戏开发、运营的互联网企业,致力于网页游戏、手机游戏的研发与运营,企查查显示,目前飞鱼科技已有多款游戏产品上线,包括《神仙道》、《大话神仙》、《囧西游》、《乱世之刃》等。企查查股东信息显示,厦门光环信息科技有限公司大股东及实际控制人为姚剑军。





