苹果对磁铁的兴趣并不局限于MagSafe。相反,我们很可能会在Apple Watch,或者任何苹果设备的外壳中看到更多的磁扣。
MagSafe现在肯定是苹果使用磁铁最知名的一个,但它并不是唯一的一个,似乎还会有更多的使用磁铁产品加入。就像Apple Watch米兰环依靠磁铁来固定一样,苹果也研究了表壳以及其他表带的磁扣。“附件装置及相关使用和制造方法”,是苹果新的专利申请,该专利实际上是建立在2015年获得授权的前一项专利基础上。它们都涉及到将磁铁融入各种材料的方法,以及这些材料然后如何保证设备的安全。
专利申请中的图纸说明了无数种不同磁性附件的变化,并展示了它们在iPad外壳上的使用。但大部分的描述都集中在像Watch带这样的带子上,或者是手柄上。苹果在专利申请当中表示,一般来说,带子可以连接到各种物品上,用于携带物品,将其绑在另一物品或人的身体上或多种其他用途。然而,传统的表带可能需要机械连接来将表带固定地连接到物品上,并且可能不提供对长度和其他属性的简单个人调整,此外,机械连接可能难以使用,使得难以移除或更换表带。
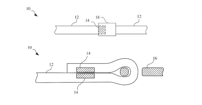
该专利的一部分涉及磁性系统的外观,展示了如何让至少一个连接点可以由与设备的外观相匹配的材料形成。否则,它是关于如何必须有两个磁铁参与,以及如何让它们一起构成一个 “捆绑组件”。当第二块磁铁与第一块磁铁接触时,例如通过将带子缠绕在用户的手腕上,它必须 被配置为与第一块磁铁安全地啮合。然后,第二磁体还必须能够 从第一表带单元的第一连接联接处可释放地接合、换句话说,你必须让表带的磁铁足够坚固,在没有刻意但不是很大的努力的情况下,它们不会断裂。
这份专利申请包括约50张不同配置的磁铁用途图纸。那些不是明显的Apple Watch表带,或者iPad外壳,都是可以合理地用于非常多设备上的拉伸材料。大多数显示了两块磁铁相互顶住的连接,就像米兰圈闭合时一样。但也有一些图展示了只使用磁铁进行最终连接的互锁部件。因此,专利申请的大部分内容都是关于磁铁到底是如何连接在一起的。有的是设备的两部分连接并被磁铁密封的互锁式,也有的是两块磁铁并排放置。比如说,后者可以用于将Magic Trackpad磁力连接到Magic Keyboard的侧面。

